Задание 17377 ЕГЭ по физике
КИМ №20
1 часть
Раздел: Теория и методы научного познания
Тема: Эксперименты и оборудование
Источник: Открытый банк заданий ФИПИ
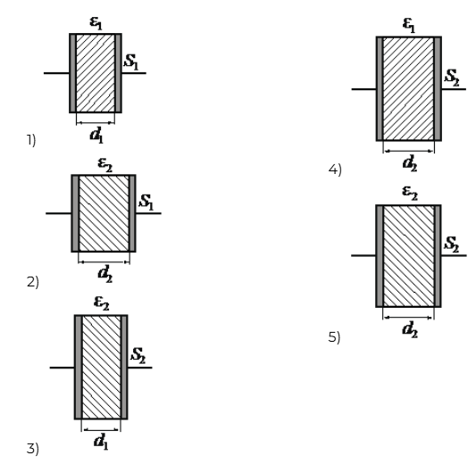
Необходимо экспериментально изучить зависимость электроёмкости плоского конденсатора от расстояния между его пластинами. На всех представленных ниже рисунках S – площадь пластин конденсатора, d – расстояние между пластинами конденсатора, ε – диэлектрическая проницаемость среды, заполняющей пространство между пластинами. Какие два конденсатора следует использовать для проведения такого исследования?

Запишите в ответ номера выбранных конденсаторов.